熱門關鍵詞:高速旋轉接頭
熱門關鍵詞:高速旋轉接頭
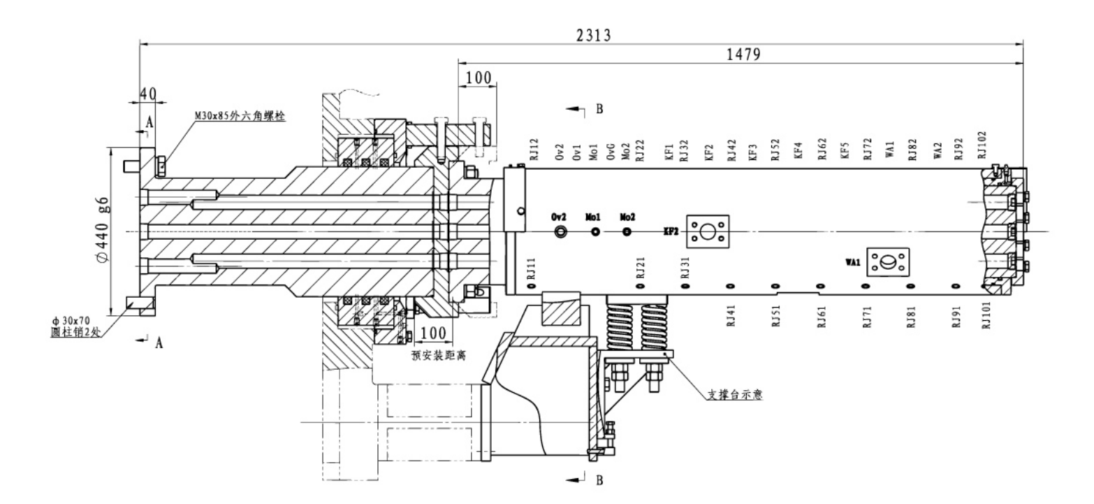
1.整體式結構,強度好,精度高;
2.浮動式土倉密封設計;
3.當刀盤結餅時,回轉接頭尾部可方便快速的直連快速接頭,接高壓水或油沖刷;
4.專業的密封結構和特殊定制的密封圈,確保高的使用壽命。持續運轉1百萬轉仍能可靠運行。
| 渣土改良通道數量 |
1-16 |
渣土改良規格 |
32-45mm |
| 轉速 |
10RPM |
結構形式 |
整體式/分體式 |
| 騰旋科技為國內某盾構機制造商提供的超大型中央回轉接頭啟程發運 |
|
【熱烈慶?!框v旋科技為中船重型裝備有限公司盾構機配套的中央回轉接頭順利安裝成功 |
|
騰旋旋轉接頭相關資訊名稱 |
擁有熱傳導、旋轉接頭研發中心;
現有員工400多名 專業技術人才達到50%以上 其中有兩名外國專家;
國內旋轉接頭行業研發中心,擁有300多項專利。
規范組織開展生產、銷售、服務。
騰旋科技擁有德國DMG和韓國DOOSAN多軸加工中心、數控車床100多臺及其它專業設備340余臺套。
完善的技術支持、快捷的售后服務、提供維護保養培訓;
提供現場指導安裝、調試服務;
提供配件及維修服務。



手機:15190308538
郵箱:2749984073@qq.com
地址:江蘇省無錫市新吳區梅村工業集中區新都路6號